Social Link
Copyright © YKK (MALAYSIA) SDN. BHD. 196101000247(4289-H). Project by Dreamztech Web Design.
Contact
Copyright © 2023 YKK (MALAYSIA) SDN. BHD. 196101000247(4289-H). Project by Dreamztech Web Design.
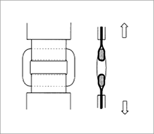
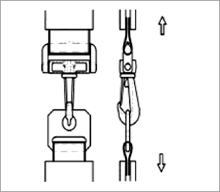
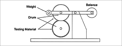
There are various methods by which to evaluate zipper strength. The basic strength can be determined based on the results of the following inspection methods, from which overall strength appropriate for respective uses can be judged.(Based on JIS-S3015 and ASTM D2061)
Tensile Testing Machine Conditions ― Tensile Speed: 300 mm/min, Clamp Width: 25 mm



















